Sony is making some head-scratching, albeit rather impressive, headway into the realm of video game accessibility, as the company has filed a patent for an AI “ghost” feature for PlayStation games that can assist players stuck in particularly difficult sections.



The patent was originally filed back in September 2024, but was only published by the World Intellectual Property Organisation in a recent international status report, as spotted by VGC. This AI model will be trained on existing footage of the games in question, instead of being a pre-recorded set of hints and tutorials made by developers seen in most titles.
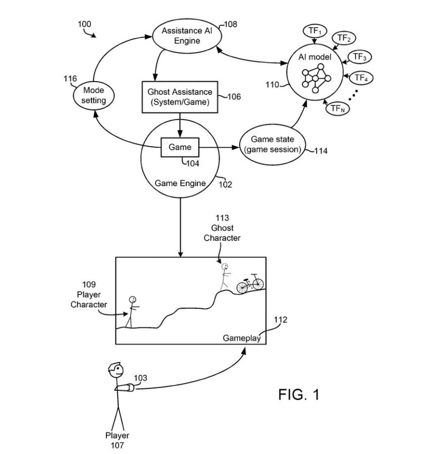
The patent mentions an “overlay” version of the player’s character, aka a “ghost”, that would be able to demonstrate certain gameplay solutions to the player in “Guide Mode”, as well as fully complete gameplay segments outright in “Complete Mode”. This AI “ghost” could potentially communicate directly with the player too, providing real-time guidance on what to do.
“Although video game technology has seen many advances, some players find themselves in need of assistance. Games become very complicated, so players who are not experts oftentimes quit playing or find it hard to complete tasks,” Sony’s patent described, “Players are able to do research for the game or even look up prior gameplays on internet sites, but that process is time consuming and many times not very relevant to tasks and/or scenarios currently being encountered by the player.”
From this early stage, this AI “ghost” feature does sound like an evolution of Game Help on the PS5, which is the consoles in-built guidance system for PS+ subscribers that offers helpful tips or sometimes even straight-up solutions for supported games, such as telling players exactly where certain collectibles are via video walkthroughs. This way, players will be able to see the guidance occur in real-time instead of having to refer to a video, which does make things more streamlined.
On the other hand, the “Complete Mode” is certainly an interesting one, as it simply solves a player’s troubles for them, so it remains to be seen how much limitations will be place for it, that is, if the patent is ever realised by Sony, so that players won’t misuse the feature. After all, when playing games such as those by FromSoftware, where every waking moment can be considered challenging, does that mean that activating “Complete Mode” just cuts to the credits? It sure beats dying over and over again, that’s for sure.




